异动
关注
社群
交易计划
搜公告
产业库
时间轴
通知
全部已读
暂无数据
私信
暂无数据
登录注册
我的主页
退出
追牛寻金
提前发掘,静待风口
个人资料
追牛寻金
2025-11-12 17:22:52
光伏造谣、辟谣及行业现状梳理
CIPA下场辟谣 1、11月12日 14:37 中国光伏行业协会CPIA辟谣 中国光伏行业协会11月12日下午在其微信公众号发布《关于网络不实消息的声明》称,网络流传的小道消息均为不实信息,协会始终坚信,在中央坚定指导支持下,行业,企业积极协调配合下,相关工作一定会成功。 2、中国光伏行业协会执行秘书长刘译阳:不要低估政策决心,光伏行业不走出内卷式恶性竟争誓不罢休 11月12日,中国金十数据11月12日讯,光伏行业协会执行秘书长刘译阳在朋友卷发文称,请大家不要信谣传谣。刘译阳称,“我们牢记总书记
S
隆基绿能
S
通威股份
S
弘元绿能
S
亿晶光电
S
大全能源
0
0
4
0
追牛寻金
2025-11-11 18:56:38
BT载板涨价预期
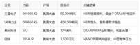
存储涨价开始扩散 闪迪 NAND 闪存大幅涨价,11 月报价涨幅高达 50%。上游多品类存储已实现多轮涨价,三星此前已暂停DDR5内存报价,下游载板的产能持续紧张。 BT载板行业在今年1-6月持续提升稼动率,6月满产后演绎逻辑切换至涨价。今年下半年有部分厂商预计会实现三次左右的涨价,现在BT载板在存储领域约有40pct的订单是无法被满足的。 BT载板 载板供需紧缺超上游存储,有望复刻PCB逻辑:这是涨价的最核心推动力。展望周期的持续性,下游存储的出货量的增长量级大概是60%+左右,上游BT载板的
S
深南电路
S
兴森科技
S
博敏电子
S
崇达技术
S
生益科技
12
3
12
8.78
追牛寻金
2025-11-10 20:21:51
存储
存储价格持续涨价 1、利基NAND涨势较强,三星退出,需求向好,SLCNAND大陆厂商2503涨价10%-15%,Q4涨价10%+,26H1预计上涨20-25%;大容量NOR2503起涨,小容量NORFash涨价有望在年底至26年逐步体现。 2、DDR4/LPDDR4/LPDDR5等产品大幅涨价,制程向DDR5迭代导致DDR4产品供需缺口将至少维持到2027年。今年以来,内存价格持续暴涨。其中,DDR4价格暴涨超两倍,16GB条突破500元。根据慢慢买App,一款金士顿的DDR4 16GB台式机
S
大为股份
S
香农芯创
S
万润科技
S
北京君正
S
普冉股份
3
1
10
5.26
追牛寻金
2025-11-08 10:36:59
AIDC燃气轮机
一、北美市场需求背景与燃气轮机的核心地位 1.缺电现状与驱动因素 用电需求激增:北美地区因新能源汽车普及、半导体/电动汽车产业回流、数据中心爆发式增长,导致用电负荷显著上升。 发电缺口扩大:2025-2030年电源侧缺口预计超过240GW,电价近五年上涨25%-30%,反映供需紧张局面) 2.燃气轮机的不可替代性 燃气轮机占北美发电市场的40%-50%,因其可靠性高、成本较低,成为填补缺口的首选方案。其他补充路径(如储能、核电)虽具弹性,但短期内难以替代燃气轮机的主导地位。 二、产业链发展现状与
S
应流股份
S
航亚科技
S
航宇科技
S
杰瑞股份
S
联德股份
28
8
21
9.11
追牛寻金
2025-11-06 16:15:40
电解铝
近期异动 铝板块大涨,股票端涨幅超过期货,核心逻辑是供应约束持续强化,价格中期想象空间很大,海外缺电导致海外增量产能受限。 往期回溯 2025年铜市场原本预计新增75万吨产能,结果却减产15万吨,铜期货与铜金属板块上涨。 事件催化: 电解铝:受限于电力,铝行业正面临计划的180万吨的增量产能无法落地的窘境。华泰证券测算:2025 年和 2026 年全球电解铝总供给量分别为 7391.3 万吨和 7534.3 万吨,同比增长仅 2.29% 和 1.93%。 1、10 月 21 日世纪铝业因电气故障
S
南山铝业
S
闽发铝业
S
中铝国际
S
中国铝业
5
1
6
5.18
追牛寻金
2025-11-05 18:16:42
美国电力与AI数据储能
一、美国电力供需现状与趋势 1.电力缺口扩大 背景:AI数据中心用电量激增,保守预计2030年美国新增AI算力达33GW,累计60GW;2035年AI用电量将占美国总用电需求的13%(年用电量增速从2%提升至5%)。 供需矛盾:当前能源企业发电装置备案量(2024年36GW、2025年45GW)与实际新增需求(30-40GW/年)存在20-30GW缺口,电力供应紧张。 电源结构变化: 当前美国电力结构以天然气(43%)、核电(18%)、火电(15%)为主,新能源(风电10%、光伏7%)占比逐步提
S
阳光电源
S
阿特斯
S
通润装备
S
思源电气
S
金盘科技
10
3
12
6.15
追牛寻金
2025-11-04 08:37:21
东亚机械:PCB空压机领军企业(实控人台资背景)
1.行业概览:PCB制造对空压机的特殊需求 PCB空压机行业的发展与PCB制造业的技术升级紧密相连。在高度自动化的PCB工厂中,压缩空气被视为除水、电之外的“第四大公用工程”,它不仅为设备提供动力,更直接参与钻孔、光、蚀刻、测试等关键工艺过程。 1.1 PCB行业对压缩空气的严苛标准 绝对无油(Class 0标准):微量油分会导致PCB板面污染,造成阻焊油墨附着不良、金手指氧化等致命缺陷。 深度干燥:压力露点需稳定在-40°C以下,高端产品线要求甚至达-70℃℃,以防止水分腐蚀气动元件或形成板面
S
东亚机械
8
12
13
8.67
追牛寻金
2025-11-03 16:20:17
N-硝基胺介导脱氨技术
N-硝基胺介导脱氨技术 10月28日,国科大杭高院张夏衡团队的 “芳香胺直接脱氨官能团化” 成果登上《Nature》 张夏衡团队的N-硝基胺介导脱氨技术,提供了一种安全替代传统重氨化工艺的路径,可显著降低爆炸风险、废料产生和生产成本(预计降幅30%-50%),并提升精细化工领域的反应效率。 改写芳香胺产业规则 1、降本:直接脱氨使得芳香胺脱氨成本大幅降低40-50%,其产物是下游染料行业的最主要的原料,占总成本的大头。且芳香胺具有毒副作用,产品出厂前必须去除残留芳香胺,无需重氨化反应,实现二次降
S
美联新材
S
华泰股份
15
8
27
18.35
追牛寻金
2025-11-02 14:51:52
11月上旬固态电池中试线验收
事件催化: 固态电池11月催化密集、工信部固态电池专项11月中上旬开展中试验收;中试后年底前预计大厂开启固态电池更大规模产线招标,后续有望继续推出新一轮专项。 锂电储能订单,催化设备端放量: 订单来看,25年设备受益于动力电池扩产复苏、H2电池厂资本开支逐步转移为更为刚性的储能,普遍认为26年订单好于25年、部分认为储能占比可能超动力!国内投资开始抢跑、中美欧都需要建设TWh级别的电池产能保障供应链安全。 固态电池行情回顾: 1)5-9月大行情由CIBF&中试线进展持续验证&排产及景气度提升驱动
S
海科新源
S
先导智能
S
恩捷股份
S
赣锋锂业
S
万向钱潮
6
1
9
4.02
追牛寻金
2025-10-30 19:18:17
六氟磷酸锂
一、六氟磷酸锂价格走势分析 1.近期价格表现 涨幅显著:自2022年8月起,六氟磷酸锂价格持续上涨,涨幅已超过30%。 最新报价: SMM日均价:74000元/吨。新罗最高散单报价:78000元/吨。 价格传导:下游长单价格虽涨幅较小,但已开始跟随散单价格上涨。 2.价格上涨原因 库存见底:头部企业库存基本清空,导致Q4出货量环比下降超20%。供需紧张:上半年实际出货高于排产计划,库存消耗完毕後供需失衡。淡季影响有限:尽管Q4为传统淡季,但低库存景下需求仍具韧性。 二、供需态势与市场格局 1.供
S
天赐材料
S
多氟多
S
石大胜华
S
天际股份
S
永太科技
9
5
10
9.28
追牛寻金
2025-10-29 18:23:37
半导体封装
来源:野村证券于2025年10月27日发布的《半导体封装行业更新》报告 一、行业整体趋势:AI数据中心驱动需求增长 1.Blackwell处理器封装产能全面释放 出货量提升:2025年第二季度(7-9月),英伟达Blackwell处理器的封装出货量已稳定增长,月均出货额从4-6月的口182亿日元增至7-8月的192亿日元。 价格微降:每平方米封装价格从100万日元降至97万日元,反映规模效应带来的成本优化。 需求结构变化:GPU封装权重下降,通用服务器CPU封装权重上升,表明AI算力需求正向多元
S
沃格光电
2
1
5
2.87
追牛寻金
2025-10-28 18:46:34
AI PCB设备耗材
行业核心驱动力:AI服务器爆发推动高阶HDI板需求 需求端变革 1.AI服务器对PCB的技术跃迁要求 高密度互联(HDI)升级:GB300等AI服务器需六阶以上HDI板(对比传统三阶),层间互联需多次压合(6次)。精密钻孔(盲埋孔)、高精度电镀。 直接拉动:国设备数量倍增,六阶产线所需压合机、光机、电镀线数量为三阶的2倍以上。精度要求提升,微孔孔径<0.1mm,镭射钻孔设备需求激增,残留铜控制等精度指标直接影响良率(英伟达曾因国产钻机残留问题索赔百万美金) 材料硬度升级:马9(M9)材料硬度显著
S
鼎泰高科
S
中钨高新
S
方正科技
S
宏和科技
S
景旺电子
32
4
28
22.31
追牛寻金
2025-10-27 19:37:20
覆铜板涨价与高端产品进展
一、涨价进度分析 1.涨价时间线与覆盖范围 小客户:自2025年9月起已调价,涨幅为5%-15%(部分案例达35%)。 大客户:10月起逐步调价,涨幅约 10%,预计在11月底至12月初全面完成价格调整。 整体进度:截至11月初,约 50%的订单已适用新价格。11月底预计夏盖70%-80%的订单。 剩余订单将于12月初落地,届时所有出货均完成调价。 2.涨价驱动因素 需求端拉动:海外A1、消费电子等领域需求增长,导致供需关系紧张(如北美订单增加)。 成本压力:原材料价格上涨(未明确具体物料),推
S
生益科技
S
生益电子
S
南亚新材
S
隆扬电子
S
胜宏科技
3
2
7
3.94
追牛寻金
2025-10-26 09:46:28
可控核聚变
1.产业链结构:从上游到下游的全链条分析 上游:原料供应(关键环节) 主要内容:包括有色金属(如铜、铌用于超导磁体)、特种气体(如用于等离子体燃料的特种钢材(耐高温高压)、氘气) 重要性与挑战:上游是产业基础,原料供应链是“核聚变产业发展的重要支撑”。但特种材料(如高纯度钢材)供应紧张,可能推高成本。 中游:技术研发与装备制造(核心环节) 核心技术:磁约束装置(托卡马克/仿星器)设计制造;仿真软件开发(用于预测等离子体行为);超导磁体作为“成本占比最大的组件”(估计成本比例未量化,但文档提示它占
S
合锻智能
S
国光电气
S
中洲特材
S
中国核电
S
西部超导
11
3
8
4.74
追牛寻金
2025-10-23 16:08:21
量子科技
1.事假催化:谷歌首次实现可验证的量子优势:比最快超算还要快13000倍! 继去年12月谷歌最强量子计算芯片Willow正式发布之后,当地时间2025年10月22日,谷歌宣布,在其高性能量子芯片Willow的驱动下,首次实现了可验证的量子优势。这一里程碑是实现实用量子计算的关键一步,这一成就得益于谷歌量子硬件系统所设计的精度和速度。 同时,谷歌还在《自然》杂志上发表的论文展示了运行乱序时间相关器 (OTOC) 算法的首个可验证的量子优势,称之为“量子回声”。量子回声可用于了解自然界系统的结构,从
S
国盾量子
S
格尔软件
S
神州信息
S
科大国创
S
迪普科技
5
5
11
7.98
编辑交易计划
上一页
1
2
3
4
5
6
27
下一页
前往
页
追牛寻金
2025-11-12 17:22:52
光伏造谣、辟谣及行业现状梳理
CIPA下场辟谣 1、11月12日 14:37 中国光伏行业协会CPIA辟谣 中国光伏行业协会11月12日下午在其微信公众号发布《关于网络不实消息的声明》称,网络流传的小道消息均为不实信息,协会始终坚信,在中央坚定指导支持下,行业,企业积极协调配合下,相关工作一定会成功。 2、中国光伏行业协会执行秘书长刘译阳:不要低估政策决心,光伏行业不走出内卷式恶性竟争誓不罢休 11月12日,中国金十数据11月12日讯,光伏行业协会执行秘书长刘译阳在朋友卷发文称,请大家不要信谣传谣。刘译阳称,“我们牢记总书记
S
隆基绿能
S
通威股份
S
弘元绿能
S
亿晶光电
S
大全能源
0
0
4
0
追牛寻金
2025-11-11 18:56:38
BT载板涨价预期
存储涨价开始扩散 闪迪 NAND 闪存大幅涨价,11 月报价涨幅高达 50%。上游多品类存储已实现多轮涨价,三星此前已暂停DDR5内存报价,下游载板的产能持续紧张。 BT载板行业在今年1-6月持续提升稼动率,6月满产后演绎逻辑切换至涨价。今年下半年有部分厂商预计会实现三次左右的涨价,现在BT载板在存储领域约有40pct的订单是无法被满足的。 BT载板 载板供需紧缺超上游存储,有望复刻PCB逻辑:这是涨价的最核心推动力。展望周期的持续性,下游存储的出货量的增长量级大概是60%+左右,上游BT载板的
S
深南电路
S
兴森科技
S
博敏电子
S
崇达技术
S
生益科技
12
3
12
8.78
追牛寻金
2025-11-10 20:21:51
存储
存储价格持续涨价 1、利基NAND涨势较强,三星退出,需求向好,SLCNAND大陆厂商2503涨价10%-15%,Q4涨价10%+,26H1预计上涨20-25%;大容量NOR2503起涨,小容量NORFash涨价有望在年底至26年逐步体现。 2、DDR4/LPDDR4/LPDDR5等产品大幅涨价,制程向DDR5迭代导致DDR4产品供需缺口将至少维持到2027年。今年以来,内存价格持续暴涨。其中,DDR4价格暴涨超两倍,16GB条突破500元。根据慢慢买App,一款金士顿的DDR4 16GB台式机
S
大为股份
S
香农芯创
S
万润科技
S
北京君正
S
普冉股份
3
1
10
5.26
追牛寻金
2025-11-08 10:36:59
AIDC燃气轮机
一、北美市场需求背景与燃气轮机的核心地位 1.缺电现状与驱动因素 用电需求激增:北美地区因新能源汽车普及、半导体/电动汽车产业回流、数据中心爆发式增长,导致用电负荷显著上升。 发电缺口扩大:2025-2030年电源侧缺口预计超过240GW,电价近五年上涨25%-30%,反映供需紧张局面) 2.燃气轮机的不可替代性 燃气轮机占北美发电市场的40%-50%,因其可靠性高、成本较低,成为填补缺口的首选方案。其他补充路径(如储能、核电)虽具弹性,但短期内难以替代燃气轮机的主导地位。 二、产业链发展现状与
S
应流股份
S
航亚科技
S
航宇科技
S
杰瑞股份
S
联德股份
28
8
21
9.11
追牛寻金
2025-11-06 16:15:40
电解铝
近期异动 铝板块大涨,股票端涨幅超过期货,核心逻辑是供应约束持续强化,价格中期想象空间很大,海外缺电导致海外增量产能受限。 往期回溯 2025年铜市场原本预计新增75万吨产能,结果却减产15万吨,铜期货与铜金属板块上涨。 事件催化: 电解铝:受限于电力,铝行业正面临计划的180万吨的增量产能无法落地的窘境。华泰证券测算:2025 年和 2026 年全球电解铝总供给量分别为 7391.3 万吨和 7534.3 万吨,同比增长仅 2.29% 和 1.93%。 1、10 月 21 日世纪铝业因电气故障
S
南山铝业
S
闽发铝业
S
中铝国际
S
中国铝业
5
1
6
5.18
追牛寻金
2025-11-05 18:16:42
美国电力与AI数据储能
一、美国电力供需现状与趋势 1.电力缺口扩大 背景:AI数据中心用电量激增,保守预计2030年美国新增AI算力达33GW,累计60GW;2035年AI用电量将占美国总用电需求的13%(年用电量增速从2%提升至5%)。 供需矛盾:当前能源企业发电装置备案量(2024年36GW、2025年45GW)与实际新增需求(30-40GW/年)存在20-30GW缺口,电力供应紧张。 电源结构变化: 当前美国电力结构以天然气(43%)、核电(18%)、火电(15%)为主,新能源(风电10%、光伏7%)占比逐步提
S
阳光电源
S
阿特斯
S
通润装备
S
思源电气
S
金盘科技
10
3
12
6.15
追牛寻金
2025-11-04 08:37:21
东亚机械:PCB空压机领军企业(实控人台资背景)
1.行业概览:PCB制造对空压机的特殊需求 PCB空压机行业的发展与PCB制造业的技术升级紧密相连。在高度自动化的PCB工厂中,压缩空气被视为除水、电之外的“第四大公用工程”,它不仅为设备提供动力,更直接参与钻孔、光、蚀刻、测试等关键工艺过程。 1.1 PCB行业对压缩空气的严苛标准 绝对无油(Class 0标准):微量油分会导致PCB板面污染,造成阻焊油墨附着不良、金手指氧化等致命缺陷。 深度干燥:压力露点需稳定在-40°C以下,高端产品线要求甚至达-70℃℃,以防止水分腐蚀气动元件或形成板面
S
东亚机械
8
12
13
8.67
追牛寻金
2025-11-03 16:20:17
N-硝基胺介导脱氨技术
N-硝基胺介导脱氨技术 10月28日,国科大杭高院张夏衡团队的 “芳香胺直接脱氨官能团化” 成果登上《Nature》 张夏衡团队的N-硝基胺介导脱氨技术,提供了一种安全替代传统重氨化工艺的路径,可显著降低爆炸风险、废料产生和生产成本(预计降幅30%-50%),并提升精细化工领域的反应效率。 改写芳香胺产业规则 1、降本:直接脱氨使得芳香胺脱氨成本大幅降低40-50%,其产物是下游染料行业的最主要的原料,占总成本的大头。且芳香胺具有毒副作用,产品出厂前必须去除残留芳香胺,无需重氨化反应,实现二次降
S
美联新材
S
华泰股份
15
8
27
18.35
追牛寻金
2025-11-02 14:51:52
11月上旬固态电池中试线验收
事件催化: 固态电池11月催化密集、工信部固态电池专项11月中上旬开展中试验收;中试后年底前预计大厂开启固态电池更大规模产线招标,后续有望继续推出新一轮专项。 锂电储能订单,催化设备端放量: 订单来看,25年设备受益于动力电池扩产复苏、H2电池厂资本开支逐步转移为更为刚性的储能,普遍认为26年订单好于25年、部分认为储能占比可能超动力!国内投资开始抢跑、中美欧都需要建设TWh级别的电池产能保障供应链安全。 固态电池行情回顾: 1)5-9月大行情由CIBF&中试线进展持续验证&排产及景气度提升驱动
S
海科新源
S
先导智能
S
恩捷股份
S
赣锋锂业
S
万向钱潮
6
1
9
4.02
追牛寻金
2025-10-30 19:18:17
六氟磷酸锂
一、六氟磷酸锂价格走势分析 1.近期价格表现 涨幅显著:自2022年8月起,六氟磷酸锂价格持续上涨,涨幅已超过30%。 最新报价: SMM日均价:74000元/吨。新罗最高散单报价:78000元/吨。 价格传导:下游长单价格虽涨幅较小,但已开始跟随散单价格上涨。 2.价格上涨原因 库存见底:头部企业库存基本清空,导致Q4出货量环比下降超20%。供需紧张:上半年实际出货高于排产计划,库存消耗完毕後供需失衡。淡季影响有限:尽管Q4为传统淡季,但低库存景下需求仍具韧性。 二、供需态势与市场格局 1.供
S
天赐材料
S
多氟多
S
石大胜华
S
天际股份
S
永太科技
9
5
10
9.28
追牛寻金
2025-10-29 18:23:37
半导体封装
来源:野村证券于2025年10月27日发布的《半导体封装行业更新》报告 一、行业整体趋势:AI数据中心驱动需求增长 1.Blackwell处理器封装产能全面释放 出货量提升:2025年第二季度(7-9月),英伟达Blackwell处理器的封装出货量已稳定增长,月均出货额从4-6月的口182亿日元增至7-8月的192亿日元。 价格微降:每平方米封装价格从100万日元降至97万日元,反映规模效应带来的成本优化。 需求结构变化:GPU封装权重下降,通用服务器CPU封装权重上升,表明AI算力需求正向多元
S
沃格光电
2
1
5
2.87
追牛寻金
2025-10-28 18:46:34
AI PCB设备耗材
行业核心驱动力:AI服务器爆发推动高阶HDI板需求 需求端变革 1.AI服务器对PCB的技术跃迁要求 高密度互联(HDI)升级:GB300等AI服务器需六阶以上HDI板(对比传统三阶),层间互联需多次压合(6次)。精密钻孔(盲埋孔)、高精度电镀。 直接拉动:国设备数量倍增,六阶产线所需压合机、光机、电镀线数量为三阶的2倍以上。精度要求提升,微孔孔径<0.1mm,镭射钻孔设备需求激增,残留铜控制等精度指标直接影响良率(英伟达曾因国产钻机残留问题索赔百万美金) 材料硬度升级:马9(M9)材料硬度显著
S
鼎泰高科
S
中钨高新
S
方正科技
S
宏和科技
S
景旺电子
32
4
28
22.31
追牛寻金
2025-10-27 19:37:20
覆铜板涨价与高端产品进展
一、涨价进度分析 1.涨价时间线与覆盖范围 小客户:自2025年9月起已调价,涨幅为5%-15%(部分案例达35%)。 大客户:10月起逐步调价,涨幅约 10%,预计在11月底至12月初全面完成价格调整。 整体进度:截至11月初,约 50%的订单已适用新价格。11月底预计夏盖70%-80%的订单。 剩余订单将于12月初落地,届时所有出货均完成调价。 2.涨价驱动因素 需求端拉动:海外A1、消费电子等领域需求增长,导致供需关系紧张(如北美订单增加)。 成本压力:原材料价格上涨(未明确具体物料),推
S
生益科技
S
生益电子
S
南亚新材
S
隆扬电子
S
胜宏科技
3
2
7
3.94
追牛寻金
2025-10-26 09:46:28
可控核聚变
1.产业链结构:从上游到下游的全链条分析 上游:原料供应(关键环节) 主要内容:包括有色金属(如铜、铌用于超导磁体)、特种气体(如用于等离子体燃料的特种钢材(耐高温高压)、氘气) 重要性与挑战:上游是产业基础,原料供应链是“核聚变产业发展的重要支撑”。但特种材料(如高纯度钢材)供应紧张,可能推高成本。 中游:技术研发与装备制造(核心环节) 核心技术:磁约束装置(托卡马克/仿星器)设计制造;仿真软件开发(用于预测等离子体行为);超导磁体作为“成本占比最大的组件”(估计成本比例未量化,但文档提示它占
S
合锻智能
S
国光电气
S
中洲特材
S
中国核电
S
西部超导
11
3
8
4.74
追牛寻金
2025-10-23 16:08:21
量子科技
1.事假催化:谷歌首次实现可验证的量子优势:比最快超算还要快13000倍! 继去年12月谷歌最强量子计算芯片Willow正式发布之后,当地时间2025年10月22日,谷歌宣布,在其高性能量子芯片Willow的驱动下,首次实现了可验证的量子优势。这一里程碑是实现实用量子计算的关键一步,这一成就得益于谷歌量子硬件系统所设计的精度和速度。 同时,谷歌还在《自然》杂志上发表的论文展示了运行乱序时间相关器 (OTOC) 算法的首个可验证的量子优势,称之为“量子回声”。量子回声可用于了解自然界系统的结构,从
S
国盾量子
S
格尔软件
S
神州信息
S
科大国创
S
迪普科技
5
5
11
7.98
编辑交易计划
上一页
1
2
3
4
5
6
27
下一页
前往
页
追牛寻金
2025-11-12 17:22:52
光伏造谣、辟谣及行业现状梳理
CIPA下场辟谣 1、11月12日 14:37 中国光伏行业协会CPIA辟谣 中国光伏行业协会11月12日下午在其微信公众号发布《关于网络不实消息的声明》称,网络流传的小道消息均为不实信息,协会始终坚信,在中央坚定指导支持下,行业,企业积极协调配合下,相关工作一定会成功。 2、中国光伏行业协会执行秘书长刘译阳:不要低估政策决心,光伏行业不走出内卷式恶性竟争誓不罢休 11月12日,中国金十数据11月12日讯,光伏行业协会执行秘书长刘译阳在朋友卷发文称,请大家不要信谣传谣。刘译阳称,“我们牢记总书记
S
隆基绿能
S
通威股份
S
弘元绿能
S
亿晶光电
S
大全能源
0
0
4
0
追牛寻金
2025-11-11 18:56:38
BT载板涨价预期
存储涨价开始扩散 闪迪 NAND 闪存大幅涨价,11 月报价涨幅高达 50%。上游多品类存储已实现多轮涨价,三星此前已暂停DDR5内存报价,下游载板的产能持续紧张。 BT载板行业在今年1-6月持续提升稼动率,6月满产后演绎逻辑切换至涨价。今年下半年有部分厂商预计会实现三次左右的涨价,现在BT载板在存储领域约有40pct的订单是无法被满足的。 BT载板 载板供需紧缺超上游存储,有望复刻PCB逻辑:这是涨价的最核心推动力。展望周期的持续性,下游存储的出货量的增长量级大概是60%+左右,上游BT载板的
S
深南电路
S
兴森科技
S
博敏电子
S
崇达技术
S
生益科技
12
3
12
8.78
追牛寻金
2025-11-10 20:21:51
存储
存储价格持续涨价 1、利基NAND涨势较强,三星退出,需求向好,SLCNAND大陆厂商2503涨价10%-15%,Q4涨价10%+,26H1预计上涨20-25%;大容量NOR2503起涨,小容量NORFash涨价有望在年底至26年逐步体现。 2、DDR4/LPDDR4/LPDDR5等产品大幅涨价,制程向DDR5迭代导致DDR4产品供需缺口将至少维持到2027年。今年以来,内存价格持续暴涨。其中,DDR4价格暴涨超两倍,16GB条突破500元。根据慢慢买App,一款金士顿的DDR4 16GB台式机
S
大为股份
S
香农芯创
S
万润科技
S
北京君正
S
普冉股份
3
1
10
5.26
追牛寻金
2025-11-08 10:36:59
AIDC燃气轮机
一、北美市场需求背景与燃气轮机的核心地位 1.缺电现状与驱动因素 用电需求激增:北美地区因新能源汽车普及、半导体/电动汽车产业回流、数据中心爆发式增长,导致用电负荷显著上升。 发电缺口扩大:2025-2030年电源侧缺口预计超过240GW,电价近五年上涨25%-30%,反映供需紧张局面) 2.燃气轮机的不可替代性 燃气轮机占北美发电市场的40%-50%,因其可靠性高、成本较低,成为填补缺口的首选方案。其他补充路径(如储能、核电)虽具弹性,但短期内难以替代燃气轮机的主导地位。 二、产业链发展现状与
S
应流股份
S
航亚科技
S
航宇科技
S
杰瑞股份
S
联德股份
28
8
21
9.11
追牛寻金
2025-11-06 16:15:40
电解铝
近期异动 铝板块大涨,股票端涨幅超过期货,核心逻辑是供应约束持续强化,价格中期想象空间很大,海外缺电导致海外增量产能受限。 往期回溯 2025年铜市场原本预计新增75万吨产能,结果却减产15万吨,铜期货与铜金属板块上涨。 事件催化: 电解铝:受限于电力,铝行业正面临计划的180万吨的增量产能无法落地的窘境。华泰证券测算:2025 年和 2026 年全球电解铝总供给量分别为 7391.3 万吨和 7534.3 万吨,同比增长仅 2.29% 和 1.93%。 1、10 月 21 日世纪铝业因电气故障
S
南山铝业
S
闽发铝业
S
中铝国际
S
中国铝业
5
1
6
5.18
追牛寻金
2025-11-05 18:16:42
美国电力与AI数据储能
一、美国电力供需现状与趋势 1.电力缺口扩大 背景:AI数据中心用电量激增,保守预计2030年美国新增AI算力达33GW,累计60GW;2035年AI用电量将占美国总用电需求的13%(年用电量增速从2%提升至5%)。 供需矛盾:当前能源企业发电装置备案量(2024年36GW、2025年45GW)与实际新增需求(30-40GW/年)存在20-30GW缺口,电力供应紧张。 电源结构变化: 当前美国电力结构以天然气(43%)、核电(18%)、火电(15%)为主,新能源(风电10%、光伏7%)占比逐步提
S
阳光电源
S
阿特斯
S
通润装备
S
思源电气
S
金盘科技
10
3
12
6.15
追牛寻金
2025-11-04 08:37:21
东亚机械:PCB空压机领军企业(实控人台资背景)
1.行业概览:PCB制造对空压机的特殊需求 PCB空压机行业的发展与PCB制造业的技术升级紧密相连。在高度自动化的PCB工厂中,压缩空气被视为除水、电之外的“第四大公用工程”,它不仅为设备提供动力,更直接参与钻孔、光、蚀刻、测试等关键工艺过程。 1.1 PCB行业对压缩空气的严苛标准 绝对无油(Class 0标准):微量油分会导致PCB板面污染,造成阻焊油墨附着不良、金手指氧化等致命缺陷。 深度干燥:压力露点需稳定在-40°C以下,高端产品线要求甚至达-70℃℃,以防止水分腐蚀气动元件或形成板面
S
东亚机械
8
12
13
8.67
追牛寻金
2025-11-03 16:20:17
N-硝基胺介导脱氨技术
N-硝基胺介导脱氨技术 10月28日,国科大杭高院张夏衡团队的 “芳香胺直接脱氨官能团化” 成果登上《Nature》 张夏衡团队的N-硝基胺介导脱氨技术,提供了一种安全替代传统重氨化工艺的路径,可显著降低爆炸风险、废料产生和生产成本(预计降幅30%-50%),并提升精细化工领域的反应效率。 改写芳香胺产业规则 1、降本:直接脱氨使得芳香胺脱氨成本大幅降低40-50%,其产物是下游染料行业的最主要的原料,占总成本的大头。且芳香胺具有毒副作用,产品出厂前必须去除残留芳香胺,无需重氨化反应,实现二次降
S
美联新材
S
华泰股份
15
8
27
18.35
追牛寻金
2025-11-02 14:51:52
11月上旬固态电池中试线验收
事件催化: 固态电池11月催化密集、工信部固态电池专项11月中上旬开展中试验收;中试后年底前预计大厂开启固态电池更大规模产线招标,后续有望继续推出新一轮专项。 锂电储能订单,催化设备端放量: 订单来看,25年设备受益于动力电池扩产复苏、H2电池厂资本开支逐步转移为更为刚性的储能,普遍认为26年订单好于25年、部分认为储能占比可能超动力!国内投资开始抢跑、中美欧都需要建设TWh级别的电池产能保障供应链安全。 固态电池行情回顾: 1)5-9月大行情由CIBF&中试线进展持续验证&排产及景气度提升驱动
S
海科新源
S
先导智能
S
恩捷股份
S
赣锋锂业
S
万向钱潮
6
1
9
4.02
追牛寻金
2025-10-30 19:18:17
六氟磷酸锂
一、六氟磷酸锂价格走势分析 1.近期价格表现 涨幅显著:自2022年8月起,六氟磷酸锂价格持续上涨,涨幅已超过30%。 最新报价: SMM日均价:74000元/吨。新罗最高散单报价:78000元/吨。 价格传导:下游长单价格虽涨幅较小,但已开始跟随散单价格上涨。 2.价格上涨原因 库存见底:头部企业库存基本清空,导致Q4出货量环比下降超20%。供需紧张:上半年实际出货高于排产计划,库存消耗完毕後供需失衡。淡季影响有限:尽管Q4为传统淡季,但低库存景下需求仍具韧性。 二、供需态势与市场格局 1.供
S
天赐材料
S
多氟多
S
石大胜华
S
天际股份
S
永太科技
9
5
10
9.28
追牛寻金
2025-10-29 18:23:37
半导体封装
来源:野村证券于2025年10月27日发布的《半导体封装行业更新》报告 一、行业整体趋势:AI数据中心驱动需求增长 1.Blackwell处理器封装产能全面释放 出货量提升:2025年第二季度(7-9月),英伟达Blackwell处理器的封装出货量已稳定增长,月均出货额从4-6月的口182亿日元增至7-8月的192亿日元。 价格微降:每平方米封装价格从100万日元降至97万日元,反映规模效应带来的成本优化。 需求结构变化:GPU封装权重下降,通用服务器CPU封装权重上升,表明AI算力需求正向多元
S
沃格光电
2
1
5
2.87
追牛寻金
2025-10-28 18:46:34
AI PCB设备耗材
行业核心驱动力:AI服务器爆发推动高阶HDI板需求 需求端变革 1.AI服务器对PCB的技术跃迁要求 高密度互联(HDI)升级:GB300等AI服务器需六阶以上HDI板(对比传统三阶),层间互联需多次压合(6次)。精密钻孔(盲埋孔)、高精度电镀。 直接拉动:国设备数量倍增,六阶产线所需压合机、光机、电镀线数量为三阶的2倍以上。精度要求提升,微孔孔径<0.1mm,镭射钻孔设备需求激增,残留铜控制等精度指标直接影响良率(英伟达曾因国产钻机残留问题索赔百万美金) 材料硬度升级:马9(M9)材料硬度显著
S
鼎泰高科
S
中钨高新
S
方正科技
S
宏和科技
S
景旺电子
32
4
28
22.31
追牛寻金
2025-10-27 19:37:20
覆铜板涨价与高端产品进展
一、涨价进度分析 1.涨价时间线与覆盖范围 小客户:自2025年9月起已调价,涨幅为5%-15%(部分案例达35%)。 大客户:10月起逐步调价,涨幅约 10%,预计在11月底至12月初全面完成价格调整。 整体进度:截至11月初,约 50%的订单已适用新价格。11月底预计夏盖70%-80%的订单。 剩余订单将于12月初落地,届时所有出货均完成调价。 2.涨价驱动因素 需求端拉动:海外A1、消费电子等领域需求增长,导致供需关系紧张(如北美订单增加)。 成本压力:原材料价格上涨(未明确具体物料),推
S
生益科技
S
生益电子
S
南亚新材
S
隆扬电子
S
胜宏科技
3
2
7
3.94
追牛寻金
2025-10-26 09:46:28
可控核聚变
1.产业链结构:从上游到下游的全链条分析 上游:原料供应(关键环节) 主要内容:包括有色金属(如铜、铌用于超导磁体)、特种气体(如用于等离子体燃料的特种钢材(耐高温高压)、氘气) 重要性与挑战:上游是产业基础,原料供应链是“核聚变产业发展的重要支撑”。但特种材料(如高纯度钢材)供应紧张,可能推高成本。 中游:技术研发与装备制造(核心环节) 核心技术:磁约束装置(托卡马克/仿星器)设计制造;仿真软件开发(用于预测等离子体行为);超导磁体作为“成本占比最大的组件”(估计成本比例未量化,但文档提示它占
S
合锻智能
S
国光电气
S
中洲特材
S
中国核电
S
西部超导
11
3
8
4.74
追牛寻金
2025-10-23 16:08:21
量子科技
1.事假催化:谷歌首次实现可验证的量子优势:比最快超算还要快13000倍! 继去年12月谷歌最强量子计算芯片Willow正式发布之后,当地时间2025年10月22日,谷歌宣布,在其高性能量子芯片Willow的驱动下,首次实现了可验证的量子优势。这一里程碑是实现实用量子计算的关键一步,这一成就得益于谷歌量子硬件系统所设计的精度和速度。 同时,谷歌还在《自然》杂志上发表的论文展示了运行乱序时间相关器 (OTOC) 算法的首个可验证的量子优势,称之为“量子回声”。量子回声可用于了解自然界系统的结构,从
S
国盾量子
S
格尔软件
S
神州信息
S
科大国创
S
迪普科技
5
5
11
7.98
编辑交易计划
上一页
1
2
3
4
5
6
27
下一页
前往
页
追牛寻金
2025-11-12 17:22:52
光伏造谣、辟谣及行业现状梳理
CIPA下场辟谣 1、11月12日 14:37 中国光伏行业协会CPIA辟谣 中国光伏行业协会11月12日下午在其微信公众号发布《关于网络不实消息的声明》称,网络流传的小道消息均为不实信息,协会始终坚信,在中央坚定指导支持下,行业,企业积极协调配合下,相关工作一定会成功。 2、中国光伏行业协会执行秘书长刘译阳:不要低估政策决心,光伏行业不走出内卷式恶性竟争誓不罢休 11月12日,中国金十数据11月12日讯,光伏行业协会执行秘书长刘译阳在朋友卷发文称,请大家不要信谣传谣。刘译阳称,“我们牢记总书记
S
隆基绿能
S
通威股份
S
弘元绿能
S
亿晶光电
S
大全能源
0
0
4
0
追牛寻金
2025-11-11 18:56:38
BT载板涨价预期
存储涨价开始扩散 闪迪 NAND 闪存大幅涨价,11 月报价涨幅高达 50%。上游多品类存储已实现多轮涨价,三星此前已暂停DDR5内存报价,下游载板的产能持续紧张。 BT载板行业在今年1-6月持续提升稼动率,6月满产后演绎逻辑切换至涨价。今年下半年有部分厂商预计会实现三次左右的涨价,现在BT载板在存储领域约有40pct的订单是无法被满足的。 BT载板 载板供需紧缺超上游存储,有望复刻PCB逻辑:这是涨价的最核心推动力。展望周期的持续性,下游存储的出货量的增长量级大概是60%+左右,上游BT载板的
S
深南电路
S
兴森科技
S
博敏电子
S
崇达技术
S
生益科技
12
3
12
8.78
追牛寻金
2025-11-10 20:21:51
存储
存储价格持续涨价 1、利基NAND涨势较强,三星退出,需求向好,SLCNAND大陆厂商2503涨价10%-15%,Q4涨价10%+,26H1预计上涨20-25%;大容量NOR2503起涨,小容量NORFash涨价有望在年底至26年逐步体现。 2、DDR4/LPDDR4/LPDDR5等产品大幅涨价,制程向DDR5迭代导致DDR4产品供需缺口将至少维持到2027年。今年以来,内存价格持续暴涨。其中,DDR4价格暴涨超两倍,16GB条突破500元。根据慢慢买App,一款金士顿的DDR4 16GB台式机
S
大为股份
S
香农芯创
S
万润科技
S
北京君正
S
普冉股份
3
1
10
5.26
追牛寻金
2025-11-08 10:36:59
AIDC燃气轮机
一、北美市场需求背景与燃气轮机的核心地位 1.缺电现状与驱动因素 用电需求激增:北美地区因新能源汽车普及、半导体/电动汽车产业回流、数据中心爆发式增长,导致用电负荷显著上升。 发电缺口扩大:2025-2030年电源侧缺口预计超过240GW,电价近五年上涨25%-30%,反映供需紧张局面) 2.燃气轮机的不可替代性 燃气轮机占北美发电市场的40%-50%,因其可靠性高、成本较低,成为填补缺口的首选方案。其他补充路径(如储能、核电)虽具弹性,但短期内难以替代燃气轮机的主导地位。 二、产业链发展现状与
S
应流股份
S
航亚科技
S
航宇科技
S
杰瑞股份
S
联德股份
28
8
21
9.11
追牛寻金
2025-11-06 16:15:40
电解铝
近期异动 铝板块大涨,股票端涨幅超过期货,核心逻辑是供应约束持续强化,价格中期想象空间很大,海外缺电导致海外增量产能受限。 往期回溯 2025年铜市场原本预计新增75万吨产能,结果却减产15万吨,铜期货与铜金属板块上涨。 事件催化: 电解铝:受限于电力,铝行业正面临计划的180万吨的增量产能无法落地的窘境。华泰证券测算:2025 年和 2026 年全球电解铝总供给量分别为 7391.3 万吨和 7534.3 万吨,同比增长仅 2.29% 和 1.93%。 1、10 月 21 日世纪铝业因电气故障
S
南山铝业
S
闽发铝业
S
中铝国际
S
中国铝业
5
1
6
5.18
追牛寻金
2025-11-05 18:16:42
美国电力与AI数据储能
一、美国电力供需现状与趋势 1.电力缺口扩大 背景:AI数据中心用电量激增,保守预计2030年美国新增AI算力达33GW,累计60GW;2035年AI用电量将占美国总用电需求的13%(年用电量增速从2%提升至5%)。 供需矛盾:当前能源企业发电装置备案量(2024年36GW、2025年45GW)与实际新增需求(30-40GW/年)存在20-30GW缺口,电力供应紧张。 电源结构变化: 当前美国电力结构以天然气(43%)、核电(18%)、火电(15%)为主,新能源(风电10%、光伏7%)占比逐步提
S
阳光电源
S
阿特斯
S
通润装备
S
思源电气
S
金盘科技
10
3
12
6.15
追牛寻金
2025-11-04 08:37:21
东亚机械:PCB空压机领军企业(实控人台资背景)
1.行业概览:PCB制造对空压机的特殊需求 PCB空压机行业的发展与PCB制造业的技术升级紧密相连。在高度自动化的PCB工厂中,压缩空气被视为除水、电之外的“第四大公用工程”,它不仅为设备提供动力,更直接参与钻孔、光、蚀刻、测试等关键工艺过程。 1.1 PCB行业对压缩空气的严苛标准 绝对无油(Class 0标准):微量油分会导致PCB板面污染,造成阻焊油墨附着不良、金手指氧化等致命缺陷。 深度干燥:压力露点需稳定在-40°C以下,高端产品线要求甚至达-70℃℃,以防止水分腐蚀气动元件或形成板面
S
东亚机械
8
12
13
8.67
追牛寻金
2025-11-03 16:20:17
N-硝基胺介导脱氨技术
N-硝基胺介导脱氨技术 10月28日,国科大杭高院张夏衡团队的 “芳香胺直接脱氨官能团化” 成果登上《Nature》 张夏衡团队的N-硝基胺介导脱氨技术,提供了一种安全替代传统重氨化工艺的路径,可显著降低爆炸风险、废料产生和生产成本(预计降幅30%-50%),并提升精细化工领域的反应效率。 改写芳香胺产业规则 1、降本:直接脱氨使得芳香胺脱氨成本大幅降低40-50%,其产物是下游染料行业的最主要的原料,占总成本的大头。且芳香胺具有毒副作用,产品出厂前必须去除残留芳香胺,无需重氨化反应,实现二次降
S
美联新材
S
华泰股份
15
8
27
18.35
追牛寻金
2025-11-02 14:51:52
11月上旬固态电池中试线验收
事件催化: 固态电池11月催化密集、工信部固态电池专项11月中上旬开展中试验收;中试后年底前预计大厂开启固态电池更大规模产线招标,后续有望继续推出新一轮专项。 锂电储能订单,催化设备端放量: 订单来看,25年设备受益于动力电池扩产复苏、H2电池厂资本开支逐步转移为更为刚性的储能,普遍认为26年订单好于25年、部分认为储能占比可能超动力!国内投资开始抢跑、中美欧都需要建设TWh级别的电池产能保障供应链安全。 固态电池行情回顾: 1)5-9月大行情由CIBF&中试线进展持续验证&排产及景气度提升驱动
S
海科新源
S
先导智能
S
恩捷股份
S
赣锋锂业
S
万向钱潮
6
1
9
4.02
追牛寻金
2025-10-30 19:18:17
六氟磷酸锂
一、六氟磷酸锂价格走势分析 1.近期价格表现 涨幅显著:自2022年8月起,六氟磷酸锂价格持续上涨,涨幅已超过30%。 最新报价: SMM日均价:74000元/吨。新罗最高散单报价:78000元/吨。 价格传导:下游长单价格虽涨幅较小,但已开始跟随散单价格上涨。 2.价格上涨原因 库存见底:头部企业库存基本清空,导致Q4出货量环比下降超20%。供需紧张:上半年实际出货高于排产计划,库存消耗完毕後供需失衡。淡季影响有限:尽管Q4为传统淡季,但低库存景下需求仍具韧性。 二、供需态势与市场格局 1.供
S
天赐材料
S
多氟多
S
石大胜华
S
天际股份
S
永太科技
9
5
10
9.28
追牛寻金
2025-10-29 18:23:37
半导体封装
来源:野村证券于2025年10月27日发布的《半导体封装行业更新》报告 一、行业整体趋势:AI数据中心驱动需求增长 1.Blackwell处理器封装产能全面释放 出货量提升:2025年第二季度(7-9月),英伟达Blackwell处理器的封装出货量已稳定增长,月均出货额从4-6月的口182亿日元增至7-8月的192亿日元。 价格微降:每平方米封装价格从100万日元降至97万日元,反映规模效应带来的成本优化。 需求结构变化:GPU封装权重下降,通用服务器CPU封装权重上升,表明AI算力需求正向多元
S
沃格光电
2
1
5
2.87
追牛寻金
2025-10-28 18:46:34
AI PCB设备耗材
行业核心驱动力:AI服务器爆发推动高阶HDI板需求 需求端变革 1.AI服务器对PCB的技术跃迁要求 高密度互联(HDI)升级:GB300等AI服务器需六阶以上HDI板(对比传统三阶),层间互联需多次压合(6次)。精密钻孔(盲埋孔)、高精度电镀。 直接拉动:国设备数量倍增,六阶产线所需压合机、光机、电镀线数量为三阶的2倍以上。精度要求提升,微孔孔径<0.1mm,镭射钻孔设备需求激增,残留铜控制等精度指标直接影响良率(英伟达曾因国产钻机残留问题索赔百万美金) 材料硬度升级:马9(M9)材料硬度显著
S
鼎泰高科
S
中钨高新
S
方正科技
S
宏和科技
S
景旺电子
32
4
28
22.31
追牛寻金
2025-10-27 19:37:20
覆铜板涨价与高端产品进展
一、涨价进度分析 1.涨价时间线与覆盖范围 小客户:自2025年9月起已调价,涨幅为5%-15%(部分案例达35%)。 大客户:10月起逐步调价,涨幅约 10%,预计在11月底至12月初全面完成价格调整。 整体进度:截至11月初,约 50%的订单已适用新价格。11月底预计夏盖70%-80%的订单。 剩余订单将于12月初落地,届时所有出货均完成调价。 2.涨价驱动因素 需求端拉动:海外A1、消费电子等领域需求增长,导致供需关系紧张(如北美订单增加)。 成本压力:原材料价格上涨(未明确具体物料),推
S
生益科技
S
生益电子
S
南亚新材
S
隆扬电子
S
胜宏科技
3
2
7
3.94
追牛寻金
2025-10-26 09:46:28
可控核聚变
1.产业链结构:从上游到下游的全链条分析 上游:原料供应(关键环节) 主要内容:包括有色金属(如铜、铌用于超导磁体)、特种气体(如用于等离子体燃料的特种钢材(耐高温高压)、氘气) 重要性与挑战:上游是产业基础,原料供应链是“核聚变产业发展的重要支撑”。但特种材料(如高纯度钢材)供应紧张,可能推高成本。 中游:技术研发与装备制造(核心环节) 核心技术:磁约束装置(托卡马克/仿星器)设计制造;仿真软件开发(用于预测等离子体行为);超导磁体作为“成本占比最大的组件”(估计成本比例未量化,但文档提示它占
S
合锻智能
S
国光电气
S
中洲特材
S
中国核电
S
西部超导
11
3
8
4.74
追牛寻金
2025-10-23 16:08:21
量子科技
1.事假催化:谷歌首次实现可验证的量子优势:比最快超算还要快13000倍! 继去年12月谷歌最强量子计算芯片Willow正式发布之后,当地时间2025年10月22日,谷歌宣布,在其高性能量子芯片Willow的驱动下,首次实现了可验证的量子优势。这一里程碑是实现实用量子计算的关键一步,这一成就得益于谷歌量子硬件系统所设计的精度和速度。 同时,谷歌还在《自然》杂志上发表的论文展示了运行乱序时间相关器 (OTOC) 算法的首个可验证的量子优势,称之为“量子回声”。量子回声可用于了解自然界系统的结构,从
S
国盾量子
S
格尔软件
S
神州信息
S
科大国创
S
迪普科技
5
5
11
7.98
编辑交易计划
上一页
1
2
3
4
5
6
27
下一页
前往
页
追牛寻金
2025-11-12 17:22:52
光伏造谣、辟谣及行业现状梳理
CIPA下场辟谣 1、11月12日 14:37 中国光伏行业协会CPIA辟谣 中国光伏行业协会11月12日下午在其微信公众号发布《关于网络不实消息的声明》称,网络流传的小道消息均为不实信息,协会始终坚信,在中央坚定指导支持下,行业,企业积极协调配合下,相关工作一定会成功。 2、中国光伏行业协会执行秘书长刘译阳:不要低估政策决心,光伏行业不走出内卷式恶性竟争誓不罢休 11月12日,中国金十数据11月12日讯,光伏行业协会执行秘书长刘译阳在朋友卷发文称,请大家不要信谣传谣。刘译阳称,“我们牢记总书记
S
隆基绿能
S
通威股份
S
弘元绿能
S
亿晶光电
S
大全能源
0
0
4
0
追牛寻金
2025-11-11 18:56:38
BT载板涨价预期
存储涨价开始扩散 闪迪 NAND 闪存大幅涨价,11 月报价涨幅高达 50%。上游多品类存储已实现多轮涨价,三星此前已暂停DDR5内存报价,下游载板的产能持续紧张。 BT载板行业在今年1-6月持续提升稼动率,6月满产后演绎逻辑切换至涨价。今年下半年有部分厂商预计会实现三次左右的涨价,现在BT载板在存储领域约有40pct的订单是无法被满足的。 BT载板 载板供需紧缺超上游存储,有望复刻PCB逻辑:这是涨价的最核心推动力。展望周期的持续性,下游存储的出货量的增长量级大概是60%+左右,上游BT载板的
S
深南电路
S
兴森科技
S
博敏电子
S
崇达技术
S
生益科技
12
3
12
8.78
追牛寻金
2025-11-10 20:21:51
存储
存储价格持续涨价 1、利基NAND涨势较强,三星退出,需求向好,SLCNAND大陆厂商2503涨价10%-15%,Q4涨价10%+,26H1预计上涨20-25%;大容量NOR2503起涨,小容量NORFash涨价有望在年底至26年逐步体现。 2、DDR4/LPDDR4/LPDDR5等产品大幅涨价,制程向DDR5迭代导致DDR4产品供需缺口将至少维持到2027年。今年以来,内存价格持续暴涨。其中,DDR4价格暴涨超两倍,16GB条突破500元。根据慢慢买App,一款金士顿的DDR4 16GB台式机
S
大为股份
S
香农芯创
S
万润科技
S
北京君正
S
普冉股份
3
1
10
5.26
追牛寻金
2025-11-08 10:36:59
AIDC燃气轮机
一、北美市场需求背景与燃气轮机的核心地位 1.缺电现状与驱动因素 用电需求激增:北美地区因新能源汽车普及、半导体/电动汽车产业回流、数据中心爆发式增长,导致用电负荷显著上升。 发电缺口扩大:2025-2030年电源侧缺口预计超过240GW,电价近五年上涨25%-30%,反映供需紧张局面) 2.燃气轮机的不可替代性 燃气轮机占北美发电市场的40%-50%,因其可靠性高、成本较低,成为填补缺口的首选方案。其他补充路径(如储能、核电)虽具弹性,但短期内难以替代燃气轮机的主导地位。 二、产业链发展现状与
S
应流股份
S
航亚科技
S
航宇科技
S
杰瑞股份
S
联德股份
28
8
21
9.11
追牛寻金
2025-11-06 16:15:40
电解铝
近期异动 铝板块大涨,股票端涨幅超过期货,核心逻辑是供应约束持续强化,价格中期想象空间很大,海外缺电导致海外增量产能受限。 往期回溯 2025年铜市场原本预计新增75万吨产能,结果却减产15万吨,铜期货与铜金属板块上涨。 事件催化: 电解铝:受限于电力,铝行业正面临计划的180万吨的增量产能无法落地的窘境。华泰证券测算:2025 年和 2026 年全球电解铝总供给量分别为 7391.3 万吨和 7534.3 万吨,同比增长仅 2.29% 和 1.93%。 1、10 月 21 日世纪铝业因电气故障
S
南山铝业
S
闽发铝业
S
中铝国际
S
中国铝业
5
1
6
5.18
追牛寻金
2025-11-05 18:16:42
美国电力与AI数据储能
一、美国电力供需现状与趋势 1.电力缺口扩大 背景:AI数据中心用电量激增,保守预计2030年美国新增AI算力达33GW,累计60GW;2035年AI用电量将占美国总用电需求的13%(年用电量增速从2%提升至5%)。 供需矛盾:当前能源企业发电装置备案量(2024年36GW、2025年45GW)与实际新增需求(30-40GW/年)存在20-30GW缺口,电力供应紧张。 电源结构变化: 当前美国电力结构以天然气(43%)、核电(18%)、火电(15%)为主,新能源(风电10%、光伏7%)占比逐步提
S
阳光电源
S
阿特斯
S
通润装备
S
思源电气
S
金盘科技
10
3
12
6.15
追牛寻金
2025-11-04 08:37:21
东亚机械:PCB空压机领军企业(实控人台资背景)
1.行业概览:PCB制造对空压机的特殊需求 PCB空压机行业的发展与PCB制造业的技术升级紧密相连。在高度自动化的PCB工厂中,压缩空气被视为除水、电之外的“第四大公用工程”,它不仅为设备提供动力,更直接参与钻孔、光、蚀刻、测试等关键工艺过程。 1.1 PCB行业对压缩空气的严苛标准 绝对无油(Class 0标准):微量油分会导致PCB板面污染,造成阻焊油墨附着不良、金手指氧化等致命缺陷。 深度干燥:压力露点需稳定在-40°C以下,高端产品线要求甚至达-70℃℃,以防止水分腐蚀气动元件或形成板面
S
东亚机械
8
12
13
8.67
追牛寻金
2025-11-03 16:20:17
N-硝基胺介导脱氨技术
N-硝基胺介导脱氨技术 10月28日,国科大杭高院张夏衡团队的 “芳香胺直接脱氨官能团化” 成果登上《Nature》 张夏衡团队的N-硝基胺介导脱氨技术,提供了一种安全替代传统重氨化工艺的路径,可显著降低爆炸风险、废料产生和生产成本(预计降幅30%-50%),并提升精细化工领域的反应效率。 改写芳香胺产业规则 1、降本:直接脱氨使得芳香胺脱氨成本大幅降低40-50%,其产物是下游染料行业的最主要的原料,占总成本的大头。且芳香胺具有毒副作用,产品出厂前必须去除残留芳香胺,无需重氨化反应,实现二次降
S
美联新材
S
华泰股份
15
8
27
18.35
追牛寻金
2025-11-02 14:51:52
11月上旬固态电池中试线验收
事件催化: 固态电池11月催化密集、工信部固态电池专项11月中上旬开展中试验收;中试后年底前预计大厂开启固态电池更大规模产线招标,后续有望继续推出新一轮专项。 锂电储能订单,催化设备端放量: 订单来看,25年设备受益于动力电池扩产复苏、H2电池厂资本开支逐步转移为更为刚性的储能,普遍认为26年订单好于25年、部分认为储能占比可能超动力!国内投资开始抢跑、中美欧都需要建设TWh级别的电池产能保障供应链安全。 固态电池行情回顾: 1)5-9月大行情由CIBF&中试线进展持续验证&排产及景气度提升驱动
S
海科新源
S
先导智能
S
恩捷股份
S
赣锋锂业
S
万向钱潮
6
1
9
4.02
追牛寻金
2025-10-30 19:18:17
六氟磷酸锂
一、六氟磷酸锂价格走势分析 1.近期价格表现 涨幅显著:自2022年8月起,六氟磷酸锂价格持续上涨,涨幅已超过30%。 最新报价: SMM日均价:74000元/吨。新罗最高散单报价:78000元/吨。 价格传导:下游长单价格虽涨幅较小,但已开始跟随散单价格上涨。 2.价格上涨原因 库存见底:头部企业库存基本清空,导致Q4出货量环比下降超20%。供需紧张:上半年实际出货高于排产计划,库存消耗完毕後供需失衡。淡季影响有限:尽管Q4为传统淡季,但低库存景下需求仍具韧性。 二、供需态势与市场格局 1.供
S
天赐材料
S
多氟多
S
石大胜华
S
天际股份
S
永太科技
9
5
10
9.28
追牛寻金
2025-10-29 18:23:37
半导体封装
来源:野村证券于2025年10月27日发布的《半导体封装行业更新》报告 一、行业整体趋势:AI数据中心驱动需求增长 1.Blackwell处理器封装产能全面释放 出货量提升:2025年第二季度(7-9月),英伟达Blackwell处理器的封装出货量已稳定增长,月均出货额从4-6月的口182亿日元增至7-8月的192亿日元。 价格微降:每平方米封装价格从100万日元降至97万日元,反映规模效应带来的成本优化。 需求结构变化:GPU封装权重下降,通用服务器CPU封装权重上升,表明AI算力需求正向多元
S
沃格光电
2
1
5
2.87
追牛寻金
2025-10-28 18:46:34
AI PCB设备耗材
行业核心驱动力:AI服务器爆发推动高阶HDI板需求 需求端变革 1.AI服务器对PCB的技术跃迁要求 高密度互联(HDI)升级:GB300等AI服务器需六阶以上HDI板(对比传统三阶),层间互联需多次压合(6次)。精密钻孔(盲埋孔)、高精度电镀。 直接拉动:国设备数量倍增,六阶产线所需压合机、光机、电镀线数量为三阶的2倍以上。精度要求提升,微孔孔径<0.1mm,镭射钻孔设备需求激增,残留铜控制等精度指标直接影响良率(英伟达曾因国产钻机残留问题索赔百万美金) 材料硬度升级:马9(M9)材料硬度显著
S
鼎泰高科
S
中钨高新
S
方正科技
S
宏和科技
S
景旺电子
32
4
28
22.31
追牛寻金
2025-10-27 19:37:20
覆铜板涨价与高端产品进展
一、涨价进度分析 1.涨价时间线与覆盖范围 小客户:自2025年9月起已调价,涨幅为5%-15%(部分案例达35%)。 大客户:10月起逐步调价,涨幅约 10%,预计在11月底至12月初全面完成价格调整。 整体进度:截至11月初,约 50%的订单已适用新价格。11月底预计夏盖70%-80%的订单。 剩余订单将于12月初落地,届时所有出货均完成调价。 2.涨价驱动因素 需求端拉动:海外A1、消费电子等领域需求增长,导致供需关系紧张(如北美订单增加)。 成本压力:原材料价格上涨(未明确具体物料),推
S
生益科技
S
生益电子
S
南亚新材
S
隆扬电子
S
胜宏科技
3
2
7
3.94
追牛寻金
2025-10-26 09:46:28
可控核聚变
1.产业链结构:从上游到下游的全链条分析 上游:原料供应(关键环节) 主要内容:包括有色金属(如铜、铌用于超导磁体)、特种气体(如用于等离子体燃料的特种钢材(耐高温高压)、氘气) 重要性与挑战:上游是产业基础,原料供应链是“核聚变产业发展的重要支撑”。但特种材料(如高纯度钢材)供应紧张,可能推高成本。 中游:技术研发与装备制造(核心环节) 核心技术:磁约束装置(托卡马克/仿星器)设计制造;仿真软件开发(用于预测等离子体行为);超导磁体作为“成本占比最大的组件”(估计成本比例未量化,但文档提示它占
S
合锻智能
S
国光电气
S
中洲特材
S
中国核电
S
西部超导
11
3
8
4.74
追牛寻金
2025-10-23 16:08:21
量子科技
1.事假催化:谷歌首次实现可验证的量子优势:比最快超算还要快13000倍! 继去年12月谷歌最强量子计算芯片Willow正式发布之后,当地时间2025年10月22日,谷歌宣布,在其高性能量子芯片Willow的驱动下,首次实现了可验证的量子优势。这一里程碑是实现实用量子计算的关键一步,这一成就得益于谷歌量子硬件系统所设计的精度和速度。 同时,谷歌还在《自然》杂志上发表的论文展示了运行乱序时间相关器 (OTOC) 算法的首个可验证的量子优势,称之为“量子回声”。量子回声可用于了解自然界系统的结构,从
S
国盾量子
S
格尔软件
S
神州信息
S
科大国创
S
迪普科技
5
5
11
7.98
编辑交易计划
上一页
1
2
3
4
5
6
27
下一页
前往
页
追牛寻金
2025-11-12 17:22:52
光伏造谣、辟谣及行业现状梳理
CIPA下场辟谣 1、11月12日 14:37 中国光伏行业协会CPIA辟谣 中国光伏行业协会11月12日下午在其微信公众号发布《关于网络不实消息的声明》称,网络流传的小道消息均为不实信息,协会始终坚信,在中央坚定指导支持下,行业,企业积极协调配合下,相关工作一定会成功。 2、中国光伏行业协会执行秘书长刘译阳:不要低估政策决心,光伏行业不走出内卷式恶性竟争誓不罢休 11月12日,中国金十数据11月12日讯,光伏行业协会执行秘书长刘译阳在朋友卷发文称,请大家不要信谣传谣。刘译阳称,“我们牢记总书记
S
隆基绿能
S
通威股份
S
弘元绿能
S
亿晶光电
S
大全能源
0
0
4
0
追牛寻金
2025-11-11 18:56:38
BT载板涨价预期
存储涨价开始扩散 闪迪 NAND 闪存大幅涨价,11 月报价涨幅高达 50%。上游多品类存储已实现多轮涨价,三星此前已暂停DDR5内存报价,下游载板的产能持续紧张。 BT载板行业在今年1-6月持续提升稼动率,6月满产后演绎逻辑切换至涨价。今年下半年有部分厂商预计会实现三次左右的涨价,现在BT载板在存储领域约有40pct的订单是无法被满足的。 BT载板 载板供需紧缺超上游存储,有望复刻PCB逻辑:这是涨价的最核心推动力。展望周期的持续性,下游存储的出货量的增长量级大概是60%+左右,上游BT载板的
S
深南电路
S
兴森科技
S
博敏电子
S
崇达技术
S
生益科技
12
3
12
8.78
追牛寻金
2025-11-10 20:21:51
存储
存储价格持续涨价 1、利基NAND涨势较强,三星退出,需求向好,SLCNAND大陆厂商2503涨价10%-15%,Q4涨价10%+,26H1预计上涨20-25%;大容量NOR2503起涨,小容量NORFash涨价有望在年底至26年逐步体现。 2、DDR4/LPDDR4/LPDDR5等产品大幅涨价,制程向DDR5迭代导致DDR4产品供需缺口将至少维持到2027年。今年以来,内存价格持续暴涨。其中,DDR4价格暴涨超两倍,16GB条突破500元。根据慢慢买App,一款金士顿的DDR4 16GB台式机
S
大为股份
S
香农芯创
S
万润科技
S
北京君正
S
普冉股份
3
1
10
5.26
追牛寻金
2025-11-08 10:36:59
AIDC燃气轮机
一、北美市场需求背景与燃气轮机的核心地位 1.缺电现状与驱动因素 用电需求激增:北美地区因新能源汽车普及、半导体/电动汽车产业回流、数据中心爆发式增长,导致用电负荷显著上升。 发电缺口扩大:2025-2030年电源侧缺口预计超过240GW,电价近五年上涨25%-30%,反映供需紧张局面) 2.燃气轮机的不可替代性 燃气轮机占北美发电市场的40%-50%,因其可靠性高、成本较低,成为填补缺口的首选方案。其他补充路径(如储能、核电)虽具弹性,但短期内难以替代燃气轮机的主导地位。 二、产业链发展现状与
S
应流股份
S
航亚科技
S
航宇科技
S
杰瑞股份
S
联德股份
28
8
21
9.11
追牛寻金
2025-11-06 16:15:40
电解铝
近期异动 铝板块大涨,股票端涨幅超过期货,核心逻辑是供应约束持续强化,价格中期想象空间很大,海外缺电导致海外增量产能受限。 往期回溯 2025年铜市场原本预计新增75万吨产能,结果却减产15万吨,铜期货与铜金属板块上涨。 事件催化: 电解铝:受限于电力,铝行业正面临计划的180万吨的增量产能无法落地的窘境。华泰证券测算:2025 年和 2026 年全球电解铝总供给量分别为 7391.3 万吨和 7534.3 万吨,同比增长仅 2.29% 和 1.93%。 1、10 月 21 日世纪铝业因电气故障
S
南山铝业
S
闽发铝业
S
中铝国际
S
中国铝业
5
1
6
5.18
追牛寻金
2025-11-05 18:16:42
美国电力与AI数据储能
一、美国电力供需现状与趋势 1.电力缺口扩大 背景:AI数据中心用电量激增,保守预计2030年美国新增AI算力达33GW,累计60GW;2035年AI用电量将占美国总用电需求的13%(年用电量增速从2%提升至5%)。 供需矛盾:当前能源企业发电装置备案量(2024年36GW、2025年45GW)与实际新增需求(30-40GW/年)存在20-30GW缺口,电力供应紧张。 电源结构变化: 当前美国电力结构以天然气(43%)、核电(18%)、火电(15%)为主,新能源(风电10%、光伏7%)占比逐步提
S
阳光电源
S
阿特斯
S
通润装备
S
思源电气
S
金盘科技
10
3
12
6.15
追牛寻金
2025-11-04 08:37:21
东亚机械:PCB空压机领军企业(实控人台资背景)
1.行业概览:PCB制造对空压机的特殊需求 PCB空压机行业的发展与PCB制造业的技术升级紧密相连。在高度自动化的PCB工厂中,压缩空气被视为除水、电之外的“第四大公用工程”,它不仅为设备提供动力,更直接参与钻孔、光、蚀刻、测试等关键工艺过程。 1.1 PCB行业对压缩空气的严苛标准 绝对无油(Class 0标准):微量油分会导致PCB板面污染,造成阻焊油墨附着不良、金手指氧化等致命缺陷。 深度干燥:压力露点需稳定在-40°C以下,高端产品线要求甚至达-70℃℃,以防止水分腐蚀气动元件或形成板面
S
东亚机械
8
12
13
8.67
追牛寻金
2025-11-03 16:20:17
N-硝基胺介导脱氨技术
N-硝基胺介导脱氨技术 10月28日,国科大杭高院张夏衡团队的 “芳香胺直接脱氨官能团化” 成果登上《Nature》 张夏衡团队的N-硝基胺介导脱氨技术,提供了一种安全替代传统重氨化工艺的路径,可显著降低爆炸风险、废料产生和生产成本(预计降幅30%-50%),并提升精细化工领域的反应效率。 改写芳香胺产业规则 1、降本:直接脱氨使得芳香胺脱氨成本大幅降低40-50%,其产物是下游染料行业的最主要的原料,占总成本的大头。且芳香胺具有毒副作用,产品出厂前必须去除残留芳香胺,无需重氨化反应,实现二次降
S
美联新材
S
华泰股份
15
8
27
18.35
追牛寻金
2025-11-02 14:51:52
11月上旬固态电池中试线验收
事件催化: 固态电池11月催化密集、工信部固态电池专项11月中上旬开展中试验收;中试后年底前预计大厂开启固态电池更大规模产线招标,后续有望继续推出新一轮专项。 锂电储能订单,催化设备端放量: 订单来看,25年设备受益于动力电池扩产复苏、H2电池厂资本开支逐步转移为更为刚性的储能,普遍认为26年订单好于25年、部分认为储能占比可能超动力!国内投资开始抢跑、中美欧都需要建设TWh级别的电池产能保障供应链安全。 固态电池行情回顾: 1)5-9月大行情由CIBF&中试线进展持续验证&排产及景气度提升驱动
S
海科新源
S
先导智能
S
恩捷股份
S
赣锋锂业
S
万向钱潮
6
1
9
4.02
追牛寻金
2025-10-30 19:18:17
六氟磷酸锂
一、六氟磷酸锂价格走势分析 1.近期价格表现 涨幅显著:自2022年8月起,六氟磷酸锂价格持续上涨,涨幅已超过30%。 最新报价: SMM日均价:74000元/吨。新罗最高散单报价:78000元/吨。 价格传导:下游长单价格虽涨幅较小,但已开始跟随散单价格上涨。 2.价格上涨原因 库存见底:头部企业库存基本清空,导致Q4出货量环比下降超20%。供需紧张:上半年实际出货高于排产计划,库存消耗完毕後供需失衡。淡季影响有限:尽管Q4为传统淡季,但低库存景下需求仍具韧性。 二、供需态势与市场格局 1.供
S
天赐材料
S
多氟多
S
石大胜华
S
天际股份
S
永太科技
9
5
10
9.28
追牛寻金
2025-10-29 18:23:37
半导体封装
来源:野村证券于2025年10月27日发布的《半导体封装行业更新》报告 一、行业整体趋势:AI数据中心驱动需求增长 1.Blackwell处理器封装产能全面释放 出货量提升:2025年第二季度(7-9月),英伟达Blackwell处理器的封装出货量已稳定增长,月均出货额从4-6月的口182亿日元增至7-8月的192亿日元。 价格微降:每平方米封装价格从100万日元降至97万日元,反映规模效应带来的成本优化。 需求结构变化:GPU封装权重下降,通用服务器CPU封装权重上升,表明AI算力需求正向多元
S
沃格光电
2
1
5
2.87
追牛寻金
2025-10-28 18:46:34
AI PCB设备耗材
行业核心驱动力:AI服务器爆发推动高阶HDI板需求 需求端变革 1.AI服务器对PCB的技术跃迁要求 高密度互联(HDI)升级:GB300等AI服务器需六阶以上HDI板(对比传统三阶),层间互联需多次压合(6次)。精密钻孔(盲埋孔)、高精度电镀。 直接拉动:国设备数量倍增,六阶产线所需压合机、光机、电镀线数量为三阶的2倍以上。精度要求提升,微孔孔径<0.1mm,镭射钻孔设备需求激增,残留铜控制等精度指标直接影响良率(英伟达曾因国产钻机残留问题索赔百万美金) 材料硬度升级:马9(M9)材料硬度显著
S
鼎泰高科
S
中钨高新
S
方正科技
S
宏和科技
S
景旺电子
32
4
28
22.31
追牛寻金
2025-10-27 19:37:20
覆铜板涨价与高端产品进展
一、涨价进度分析 1.涨价时间线与覆盖范围 小客户:自2025年9月起已调价,涨幅为5%-15%(部分案例达35%)。 大客户:10月起逐步调价,涨幅约 10%,预计在11月底至12月初全面完成价格调整。 整体进度:截至11月初,约 50%的订单已适用新价格。11月底预计夏盖70%-80%的订单。 剩余订单将于12月初落地,届时所有出货均完成调价。 2.涨价驱动因素 需求端拉动:海外A1、消费电子等领域需求增长,导致供需关系紧张(如北美订单增加)。 成本压力:原材料价格上涨(未明确具体物料),推
S
生益科技
S
生益电子
S
南亚新材
S
隆扬电子
S
胜宏科技
3
2
7
3.94
追牛寻金
2025-10-26 09:46:28
可控核聚变
1.产业链结构:从上游到下游的全链条分析 上游:原料供应(关键环节) 主要内容:包括有色金属(如铜、铌用于超导磁体)、特种气体(如用于等离子体燃料的特种钢材(耐高温高压)、氘气) 重要性与挑战:上游是产业基础,原料供应链是“核聚变产业发展的重要支撑”。但特种材料(如高纯度钢材)供应紧张,可能推高成本。 中游:技术研发与装备制造(核心环节) 核心技术:磁约束装置(托卡马克/仿星器)设计制造;仿真软件开发(用于预测等离子体行为);超导磁体作为“成本占比最大的组件”(估计成本比例未量化,但文档提示它占
S
合锻智能
S
国光电气
S
中洲特材
S
中国核电
S
西部超导
11
3
8
4.74
追牛寻金
2025-10-23 16:08:21
量子科技
1.事假催化:谷歌首次实现可验证的量子优势:比最快超算还要快13000倍! 继去年12月谷歌最强量子计算芯片Willow正式发布之后,当地时间2025年10月22日,谷歌宣布,在其高性能量子芯片Willow的驱动下,首次实现了可验证的量子优势。这一里程碑是实现实用量子计算的关键一步,这一成就得益于谷歌量子硬件系统所设计的精度和速度。 同时,谷歌还在《自然》杂志上发表的论文展示了运行乱序时间相关器 (OTOC) 算法的首个可验证的量子优势,称之为“量子回声”。量子回声可用于了解自然界系统的结构,从
S
国盾量子
S
格尔软件
S
神州信息
S
科大国创
S
迪普科技
5
5
11
7.98
编辑交易计划
上一页
1
2
3
4
5
6
27
下一页
前往
页
10
关注
6978
粉丝
5465.88
工分
社区规则
服务协议
隐私政策
沪ICP备20009443号
© 2020 上海韭研信息科技有限公司
关于韭研公社
问题反馈
有问题请联系
@韭菜团子
公社愿景:韭研公社,原韭菜公社,投资干货最多的共享社群,汇聚全网最深度的基本面研究,消弭个人滞后机构的逻辑鸿沟。
风险提示:韭研公社里任何网友的发言,都有其特定立场,均不构成投资建议,请投资者独立审慎决策。
2
3
4
5
6
7
8
9
10
11
12
13
14
15
16
17
18
19
20
21
22
23
24
25
26
27
28
29